最近的天气有点任性,
打开气象预报,
O!M!G!(李佳琦语气)
一点都不像“小雪”该有的样子,
北方最低温骤跌至零下,
南方艳阳高照四季如春。
切身感受到了祖国的幅员辽阔!


南北温差之大迅速登上热搜

从网友评论中也能感受到
我国冰火两重天的气候!

你在南方露着腰,
我在北方穿着貂。
眼瞅着北方多地气温“大跳水”,
保暖需求自然直线上升。

北方的冷干干巴巴!
为了缓解天气干燥寒冷带来的不适,家居智能产品适时出现了,不少人趁着双十一把“温暖便利”买回家,室内电暖气、加湿器、洗碗机等产品,天气变冷使它们的销量大幅上涨。

市面上琳琅满目的保暖产品,
足以证明科技创新让生活更美好。
今天大家就来跟随一个北方人的脚步,
把保暖搞起来!

给我一个插座,
还你一个温暖春天。
不用再靠“一身正气”过冬啦!

是不是看着就暖和?
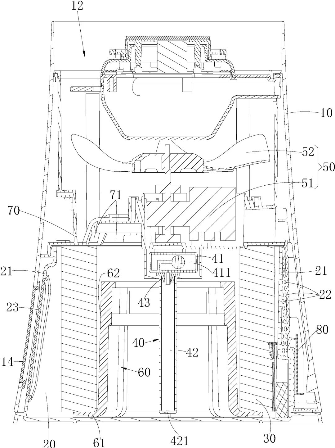
随后创造出的新型电暖气发明
更满足了大众的需求,
身体变小功能不减,
温暖室内还能进行衣物烘干,
远程遥控温度,未到家家已暖,更加人性化!
产品一:实用新型,2019年5月授权。


产品二:实用新型,2016年1月授权。


北方本就干燥,
配上暖气BUFF加成后室内湿度直线下降。
不仅会嘴唇开裂、喉咙干痛,
还会出现皮肤瘙痒,
加湿器的出现完美化解了这点。

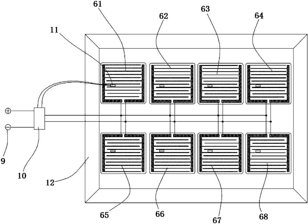
加湿器结构看似简单,
经过不断改进,更多强大功能被发掘出来,
将蒸发的水分析出、无水雾、无白色污染、
更不会打湿地板;
为了身体健康,充分消毒除菌,确保水质安全;
空气净化和加湿两大功能同时进行...
产品一:实用新型,2015年6月授权。


产品二:实用新型,2019年9月授权。


据统计,
平均每个女人一生花在洗碗上的时间是
7300个小时,
寒冷的冬季,油污易凝结,
清洗费时费力,最后双手油腻腻。
冬季拥有一台洗碗机,胜过一百句我爱你!
快为你的她解放双手吧!

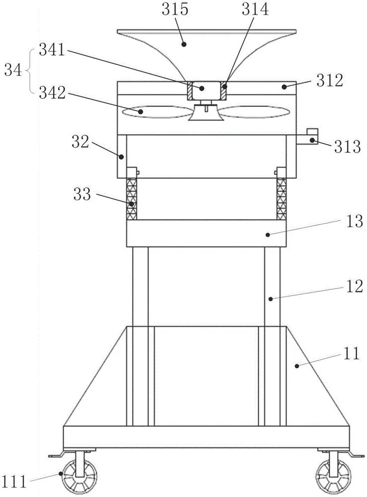
与传统洗碗机相比,
智能洗碗机拥有更多的选择功能,
在操控方式、程序设置、细节设计等方面
越来越本土化、人性化、智能化。
产品一:实用新型,2019年月授权。


产品二:实用新型,2019年9月授权。


最后再次提示各位发明人!
智力成果来之不易,
一定要提前做好知识产权保护措施!