在审查指南中提到,判断要求保护的发明对本领域的技术人员来说是否显而易见,要从最接近的现有技术和发明实际解决的技术问题出发,判断要求保护的发明对本领域的技术人员来说是否显而易见。判断过程中,要确定的是现有技术整体上是否存在某种技术启示,即现有技术中是否给出将上述区别特征应用到该最接近的现有技术以解决其存在的技术问题(即发明实际解决的技术问题) 的启示,这种启示会使本领域的技术人员在面对所述技术问题时,有动机改进该最接近的现有技术并获得要求保护的发明。如果现有技术存在这种技术启示,则发明是显而易见的,不具有突出的实质性特点。
也就是说,判断是否有技术启示,应该要判断区别技术特征能否应用到现有技术中,还要判断应用到现有技术中能否解决发明实际解决的技术问题。
在实际审查中,审查员可能会基于结构相似,在审查意见中大篇幅进行结构比对,进而基于比对结果,得出申请文件不具有创造性的结论,而忽视了对比文件和申请文件的其它不同。
案情介绍:豆浆机、绞肉机或者榨汁机等食品处理机主要包括驱动轴和搅拌刀片,搅拌刀片安装于驱动轴的自由端。现有技术中的驱动轴的拆装麻烦,且拆装过程中搅拌刀片容易划伤用户。
在以上基础上,本申请提出:将单向轴承应用于搅拌刀片,将驱动轴插入单向轴承,在驱动轴转动时,会带动单向轴承处于锁紧状态,实现驱动轴和搅拌刀片之间的稳定连接,在驱动轴停止转动时,单向轴承处于解锁状态,驱动轴和搅拌刀片之间可以轻松分离,进而实现了搅拌刀片的快速拆卸。
图1即为本申请文件所应用的单向轴承的结构。将驱动轴插入单向轴承,由于移动通道201为一端大、一端小的结构,驱动轴逆时针转动时,单向轴承处于锁定状态,驱动轴顺时针转动时,单向轴承处于解锁状态。

图1
对比文件公开了:将滚柱离合器20应用于发动机,各滚柱33的滚动面以楔状进入滚柱离合器20用内轮29的外周面和外轮30的内周面,使上述滚柱离合器20呈锁定状态,该滚柱离合器部在旋转方向的一方为锁定,在另一方为非锁定。
图2为对比文件中所应用的滚柱离合器20,其采用的也是单向轴承的结构,内轮29和外轮30之间存在有多个安装空间35(即申请文件中的移动通道201),该安装空间35也是一端大、一端小的结构,滚柱33插入到上述安装空间35,往其中一个方向转动时为锁定状态,往另一个方向转动时为解锁状态。

图2
由图1、图2可知,两者的结构基本相同,审查员也由此认为对比文件公开了本申请的结构,进而认定对本领域的技术人员有技术启示,所以本申请不具有创造性。
针对以上审查意见,笔者认为可以从以下角度进行答复:
首先,单向轴承以往一般应用于动力单元和传递单元之间,并不直接应用于执行部件(搅拌刀片)。对于应用于动力单元和传递单元之间的单向轴承,其作用在于实现单向动力传递。
本申请将单向轴承结构应用于搅拌刀片,不同于单向轴承的常规应用,其本身无需具备单向动力传递的特质。对于搅拌刀片,由于其为执行部件且直接接触物料,因此其需要进行拆装清洗。
由此可知,将单向轴承用于搅拌刀片的拆装的时候,和现有技术中相比,其应用场景已经完全不同,因此得到的技术方案,本身也有实质的不同。
搅拌设备的搅拌刀片所处的环境一般都比较恶劣。具体的,搅拌刀片通常处于填充满物料的环境下,如果将单向轴承适用于该种环境,物料将进入单向轴承中,进而导致单向轴承卡死。
所以,对于本领域的技术人员来说,不会想到将单向轴承结构应用于搅拌刀片,单向轴承结构与搅拌刀片之间的结合存在障碍,两者的结合不仅无法解决申请文件实际解决的技术问题,还会导致新的技术问题。
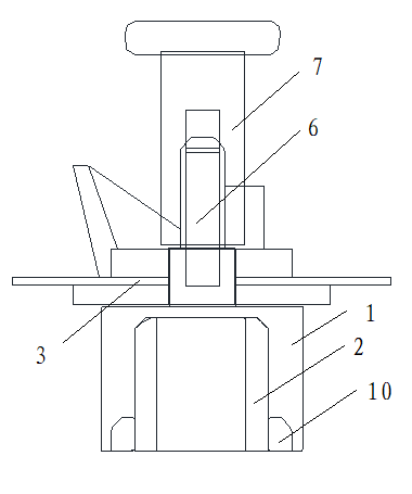
本申请之所以可以将单向轴承用于搅拌刀片的安装,在于本申请进一步提出了“安装套+单向轴承”,参考下图:

将“安装套1+单向轴承2”视为一个整体。其中,安装套1可以将物料隔离在外,搅拌刀片3固定于安装套外部,以保证搅拌刀片3和物料接触,并对物料进行搅拌破碎处理。而单向轴承2固定于安装套内部,且安装套1端部安装有密封件10,由此,物料无法进入到单向轴承的锁芯安装体202和锁芯之间11,以保证驱动轴和搅拌刀片之间的有效连接。
也就是说,安装套和单向轴承结构配合,可以在使得驱动轴与搅拌刀片之间拆装方便的同时,避免单向轴承结构受到影响。安装套与单向轴承结构的结合可以带来不一样的效果,可以解决前文所说的单向轴承结构无法适应充满物料的环境的问题。使得单向轴承可以适应搅拌刀片所处的充满物料的环境,并简化搅拌刀片的拆装过程,方便搅拌刀片的清洗。
也因此,本申请的改进点并不简单在于单向轴承应用于不通过的场景,还在于提出了“安装套+单向轴承”,而在对“安装套+单向轴承”评述时,应当将“安装套+单向轴承”作为整体进行评述。
审查指南中提到“在审查中应当客观分析并确定发明实际解决的技术问题。为此,首先应当分析要求保护的发明与最接近的现有技术相比有哪些区别特征,然后根据该区别特征在要求保护的发明中所能达到的技术效果确定发明实际解决的技术问题”。
在本申请文件的审查意见中,审查员将技术问题确定为:如何使得驱动轴带动旋转轴转动,并在旋转过程中将旋转头锁紧。
然而,本申请文件实际所要解决的技术问题为:驱动轴与搅拌刀片之间的快速拆装问题。
很显然,对比文件中,由于单向轴承用于动力单元和传递单元之间,而传递单元后续还要连接执行部件,而只有执行部件面临频繁拆装问题,动力单元和传递单元各自采用固定部件固定至对应位置也是可以的,因此动力单元和传递单元并不存在需要快速拆装的问题。
也即,将单向轴承的结构应用于本申请文件的搅拌刀片的安装,可以解决对比文件中没有的技术问题,单向轴承的转用于申请文件是具有创造性的。在此基础上,本申请将单向轴承应用于执行部件,较之于现有技术公开的情形,由于转换了应用场景,进而可以将本申请看作或者类比于转用发明。
具体的,审查指南中提到:转用发明,是指将某一技术领域的现有技术转用到其他技术领域中的发明。如果这种转用能够产生预料不到的技术效果,或者克服了原技术领域中未曾遇到的困难,则这种转用发明具有突出的实质性特点和显著的进步,具备创造性。
也就是说,将现有技术应用到本申请中时,该现有技术可以起到预料不到的效果,甚至能够解决现有技术所在领域中没有的技术问题时,说明没有技术启示可以将该现有技术应用于本申请,该现有技术的应用就是有创造性的。
很显然,本申请将单向轴承用于执行部件的时候,由于其需要克服物料进入单向轴承的困难,解决了对比文件所在领域没有的“无法快速拆装”的技术问题,进而,说明也没有技术启示可以将对比文件应用于本申请。
因此,类比于转用发明,本申请是具有突出的实质性特点和显著的进步的。
综上,在答复对比文件公开了相同/相似结构的审查意见时,可以考虑从以下几点出发:首先,该技术方案的结构应用于不同场景,是否本身存在突出的实质性特点;其次,对比文件之间是否存在结合障碍,说明该区别结构无法应用到现有技术中;最后,明确对比文件解决的技术问题和申请文件解决的技术问题,对比文件中并不存在申请文件所需解决的技术问题,也就说明了对比文件并不存在技术启示。其中,在说明没有技术启示的时候,可以类比转用发明得到结论。